Submersible blender: which option is better to choose according to a set of important criteria
The range of household kitchen appliances is so wide that any user has some difficulty in choosing. Famous brands and new manufacturers regularly present equipment with the best consumer characteristics. Which hand blender is better will be easier to understand after reading this article. It tells about the principles of equipment operation, the rules for evaluating different models.
The content of the article
How to choose a blender for your home
Quality kitchen appliances make difficult and complex work tasks easier. To figure out which is better to choose a submersible blender, careful analysis is required. General conclusions are given at the end of the article. But it is clear that the following factors must be evaluated in combination:
- specifications;
- ease of handling;
- resistance to external influences;
- durability;
- price.
Note! A beautiful stationary model does not have to be put into a locker after use. Correctly selected equipment can decorate a room. Its aesthetic characteristics must match the style of a particular interior.
Purpose and principle of operation
The main function of a blender is to blend different food ingredients in the cooking process. To accomplish this task, a special nozzle is used. It is fixed on a long pulley in order to easily immerse the working tool in the depth of the mixture. An electric drive is used for rotation.
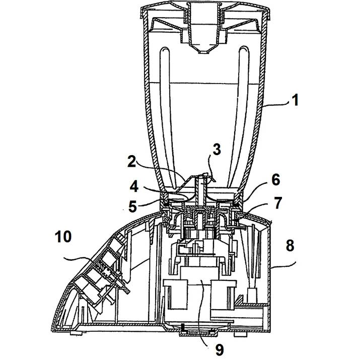
Components:
- (1) bowl body;
- (2) rotating mixer;
- (3) shaft;
- (4, 5) elements ensuring the tightness of the docking station;
- (6.7) lower parts of the bowl;
- (8) body;
- (9) an electric motor;
- (10) power button.
Types of equipment
To decide which is better to choose a submersible blender, you need to find out the features of different models.
This technique is convenient to use in different situations. It weighs a little.It is used in combination with containers of different sizes. The size of the portion and the shape of the dishes do not matter.
Equipment of this class performs its functions in an autonomous mode. Therefore, long-term processing of products without user fatigue is acceptable. The stationary blender can be equipped with a heavy, powerful electric motor for grinding solid components.
Equipment and attachments
To find out which blender is better to choose, it is not enough to check only prices and photos. The nuances listed below must be taken into account when choosing the appropriate option.
For the manufacture of this part of the structure, high-quality polymer compounds are used. Lightweight bowls are comfortable to work with. Semi-transparent walls do not obstruct visual inspection. If there are appropriate marks, it is not difficult to measure the volume of the loaded ingredients. Such products do not absorb odors and dyes, they are effortlessly cleaned of dirt. They are not susceptible to destructive corrosion processes.
The stainless steel container is more expensive. But it is designed for heavy loads. It will not be damaged: falling from a great height, strong impacts, high and low temperatures. Long service life will pay off the initial investment.
This container is chemically neutral. It does not impair the taste of ingredients, it is easily washed from fats and other contaminants. Its strength is less than that of its steel counterpart. But with careful handling - the service life is not limited by anything.
This equipment significantly expands the basic functions of the hand mixer. Beat eggs with a whisk. Grind vegetables with graters. Knives of different shapes are useful for cutting food into "strips", into narrow slices. All these tools are driven by a plug-in unit with a built-in electric motor. It is used with some attachments as a standard hand mixer.
The convenience and functionality of the adjustments must be checked:
- If there is a "Turbo" mode, then by pressing the corresponding button you can turn on the maximum rotation speed.
- "Impulse" - cyclic rotation / stop. In this mode, it is easier to grind nuts and other solid ingredients.
- In some models, manufacturers set up to 25 speed levels. But it is better if the equipment is equipped with smooth adjustment. In this case, it is not difficult to find the optimal rotation mode.
Such devices are installed in professional grade equipment. This technique is capable of working in different programs. Touch control systems are convenient for selecting the desired menu items, user settings. The color displays show important information in a clear way. An additional advantage is the absence of slots, mechanical drives of control units. This improves the overall level of reliability.
Outwardly, this blender is no different from standard models. However, the built-in heating element transforms it into a complete cooking equipment. After mixing the ingredients, the desired mode is turned on - and in a few minutes the hot puree soup will be ready.
Steam treatment is installed in this model. It has a delicate effect on food, preserves useful vitamins and minerals. This equipment is suitable for preparing dietary and baby food.
Which is better to choose a hand blender: rating of popular models
Note! To find out which is best for yourself to choose a submersible blender, a list of individual requirements is first made up.
Which blender is better to choose according to the owners' reviews: submersible or stationary
To choose a submersible blender, user opinions are useful:
Svetlana Nikiforova (Bosch / MSM6A3R): “Very handy blender, small but powerful. No wires are an added benefit. You can work with such equipment in any desired place without restrictions. "
Ekaterina Skulkina (ProfiCook / PC-UM 1006): “A large family needs appropriate kitchen equipment. This powerful blender has been in use very intensively for over a year, but there are no comments yet. "
Alexander Sukhorukov (Braun / MultiQuick 9 MQ 9087X): “I take an active part in the technical equipment of the kitchen. This model was chosen because of its extended functionality. The blender works quietly and quickly completes work steps. "
Recommendations and conclusions
In addition to the factors listed above, the following nuances must be considered:
- Better autonomy will not only provide a long cord. Some newer models of handheld devices operate on a built-in battery.
- The rubberized feet provide good stability and no scratches. The ergonomic handles are comfortable to grip. Pay attention to the basic and additional characteristics to get a really high-quality model.
How much a suitable blender costs is important. But in any case, you should choose a technique with the expectation of a certain mode of application. To perform basic work operations, you can buy a compact hand-held model. On the other hand, we must remember about the wide capabilities of multifunctional blenders. Some of them are not inferior in their parameters to full-fledged food processors.
Video: how to choose a blender





































