วิธีการเลือกปั๊มจุ่มสำหรับหลุม: เกณฑ์การคัดเลือก
ใน ในบ้านในชนบทระบบน้ำประปามักขึ้นอยู่กับบ่อน้ำหรือบ่อน้ำซึ่งติดตั้งที่ความลึก 8-10 เมตร เป็นไปไม่ได้ที่จะรับน้ำจากความลึกดังกล่าวด้วยตัวคุณเอง ยิ่งไปกว่านั้นมันไม่สะดวกที่จะออกไปข้างนอกทุกครั้งที่คุณต้องการน้ำดื่มสด ดังนั้นเจ้าของกระท่อมฤดูร้อนและที่อยู่อาศัยในเขตชานเมืองควรให้ความสนใจเป็นพิเศษกับรุ่นของอุปกรณ์ใต้น้ำ พวกเขาจะจัดหาน้ำประปาให้กับบ้านอย่างไม่ขาดสาย ลองดูวิธีการเลือกปั๊มจุ่มสำหรับหลุมและหลักการของกลไก
เนื้อหาของบทความ
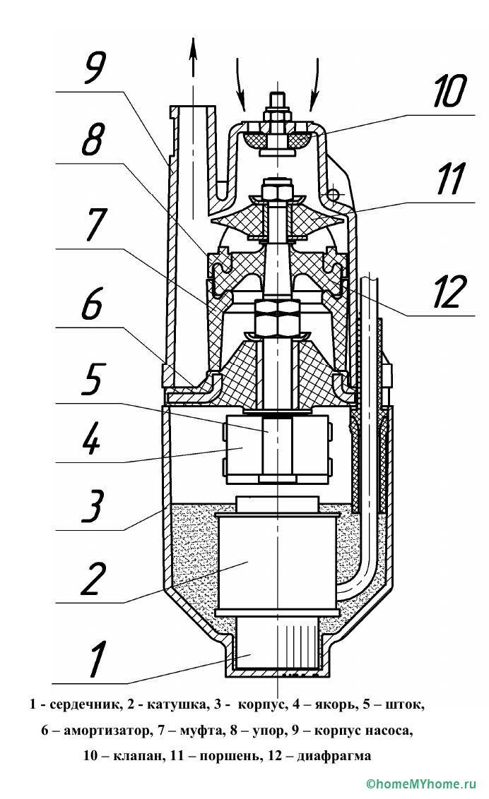
หลักการทำงานและการออกแบบปั๊มจุ่ม
ปั๊มจุ่มทำงานในน้ำ มันยกของเหลวได้แม้จากบ่อที่ลึกมากและบ่อสู่ผิวน้ำ มันคุ้มค่าที่จะแยกความแตกต่างระหว่างอุปกรณ์หลุมและหลุม โดยทั่วไปหลุมเวลบอร์จะมีความยาวมากกว่าสำหรับหลุมที่แคบและส่วนหัวที่สูงขึ้นสำหรับการยกน้ำจากความลึกที่มากขึ้น
ประเภทเหล่านี้มีความแตกต่างเล็กน้อยในอุปกรณ์ โดยทั่วไปทุกหน่วยประกอบด้วยส่วนต่างๆดังต่อไปนี้:
- ใบพัดซึ่งเป็นองค์ประกอบโครงสร้างหลัก มันทำให้รายละเอียดอื่น ๆ ทั้งหมดของโครงสร้างเคลื่อนไหว
- ใบมีดล้อ พวกมันสร้างแรงเหวี่ยงซึ่งจำเป็นสำหรับการดูดซึมน้ำอย่างรวดเร็ว
- พื้นที่ดูด;
- ที่อยู่อาศัยใบพัด ปกป้องมันจากผลกระทบด้านลบของสิ่งแวดล้อม
- วาล์ว - ดักน้ำในปั๊มและป้องกันไม่ให้ไหลกลับสู่บ่อน้ำ
- ตาข่ายป้องกันเป็นสิ่งจำเป็นเพื่อป้องกันน้ำดื่มจากสิ่งสกปรกที่เป็นอันตรายซึ่งอาจส่งผลเสียต่อสุขภาพของผู้อยู่อาศัยในบ้าน
- ท่อที่มีหน้าที่ถ่ายเทน้ำจากปั๊มไปยัง ระบบน้ำประปา.
เครื่องเป่าลมใต้น้ำใช้พลังงานไฟฟ้า มันทำให้ใบพัดหมุนดังนั้นของเหลวจะไหลจากบ่อน้ำหรือบ่อน้ำเข้าสู่ท่อซึ่งในทางกลับกันจะนำน้ำไปยังระบบจ่ายน้ำ
อย่างที่เราเห็นหลักการทำงานตลอดจนการออกแบบของซูเปอร์ชาร์จเจอร์นั้นเป็นพื้นฐาน ตอนนี้เรามาดูกันว่ามีอุปกรณ์ประเภทใดบ้างและวิธีการเลือกปั๊มจุ่มสำหรับบ่อน้ำ
วิดีโอ: หลักการทำงานและการออกแบบปั๊มจุ่ม
การจำแนกประเภทของหน่วยใต้น้ำ
ตามการออกแบบประเภทต่อไปนี้มีความโดดเด่น:
- สั่น - เป็นโครงสร้างของเครื่องสั่นแม่เหล็กไฟฟ้าและตัวเครื่อง มีการใช้กันอย่างแพร่หลายในกระท่อมฤดูร้อนไม่เพียง แต่สำหรับสูบน้ำและส่งน้ำไปที่บ้านเท่านั้น แต่ยังใช้สำหรับ รดน้ำสวน และสวน อุปกรณ์สั่นแสดงประสิทธิภาพที่ดีในแง่ของแรงดันและกำลัง นอกจากนี้ราคายังต่ำ
- กระแสน้ำวน - ประกอบด้วยพื้นที่ปล่อยและมอเตอร์ไฟฟ้า องค์ประกอบแรกใช้ในการสูบของเหลวส่วนที่สองเพื่อจ่ายน้ำให้กับบ้าน ประเภทนี้สามารถยกน้ำจากความลึก 12 เมตร ในกรณีนี้กระบวนการจะเกิดขึ้นเร็วพอ
- แรงเหวี่ยง - ซับซ้อนสองช่วงตึก: ห้องทำงานและเครื่องยนต์ พวกเขาสูบน้ำได้มากถึงหลายร้อยลิตรต่อชั่วโมงเนื่องจากมีเพลาแบบแรงเหวี่ยงพิเศษ อย่างไรก็ตามอุปกรณ์ดังกล่าวมีข้อเสียเปรียบที่สำคัญอย่างหนึ่งคือใช้มากเกินไป ไฟฟ้า.
เกณฑ์การคัดเลือกอุปกรณ์ใต้น้ำ
เพื่อให้อุปกรณ์เหมาะกับบ้านของคุณคุณต้องตัดสินใจเกี่ยวกับพารามิเตอร์ต่อไปนี้:
- ระยะห่างจากบ่อน้ำถึงที่อยู่อาศัย ยิ่งระยะทางมากขึ้นควรเลือกรุ่นปั๊มที่มีประสิทธิภาพมากขึ้น
- ปริมาณน้ำที่บริโภค จากการปฏิบัติแสดงให้เห็นว่าสำหรับครอบครัวทั่วไปที่ประกอบด้วย 4-5 คนเครื่องเป่าลมขนาดกลางธรรมดาที่สุดเหมาะสมที่สุด แต่ถ้ามีคนจำนวนมากอาศัยอยู่ในบ้านก็ควรเลือกรุ่นที่แข็งแรงกว่า
- ประสิทธิภาพ. พารามิเตอร์นี้วัดเป็นลิตรของของเหลวที่ปั๊มสามารถเพิ่มได้ต่อหนึ่งหน่วยเวลา โดยเฉลี่ยผลผลิตจะสูงถึง 4.2 ÷ 4.5 ลูกบาศก์เมตร อย่างไรก็ตามหากอุปกรณ์มีความจำเป็นไม่เพียง แต่สำหรับการจ่ายน้ำตามปกติของบ้าน แต่ยังสำหรับการรดน้ำพล็อตส่วนตัวที่กว้างขวางคุณควรใส่ใจกับรุ่นที่มีความจุ 4.8 ลูกบาศก์เมตรขึ้นไป
- อำนาจ. ระบุเป็นกิโลวัตต์ ตัวบ่งชี้นี้ระบุปริมาณน้ำที่จ่ายต่อหน่วยเวลา แต่คุณไม่ควรซื้ออุปกรณ์โดยใช้หลักการ "ยิ่งใช้พลังงานมากก็ยิ่งดี" หากครอบครัวของคุณไม่ต้องการน้ำมากเกินไปให้ใช้เครื่องเป่าลมที่มีความจุเฉลี่ยเนื่องจากอุปกรณ์ที่ทรงพลังเกินไปจะใช้พลังงานมาก
จากตัวบ่งชี้เหล่านี้คุณจะเลือกหน่วยที่เหมาะสมที่สุดสำหรับบ้านของคุณซึ่งจะให้บริการคุณเป็นเวลาหลายปีติดต่อกัน
วิธีเลือกปั๊มสำหรับบ่อน้ำ: ภาพรวมของรุ่นยอดนิยม
วิดีโอ: ปั๊มน้ำ Grundfoss
หากคุณไม่แน่ใจว่าควรเลือกปั๊มจุ่มชนิดใดให้ดูที่แผ่นด้านล่าง:
ชื่อแบรนด์ | คำอธิบาย | ใครควรซื้อ |
"Pedrollo" | อุปกรณ์คุณภาพสูงจากผู้ผลิตอิตาลี ตัวเครื่องทำจากสแตนเลสเนื่องจากอายุการใช้งานของอุปกรณ์ถึงหลายสิบปี ไม่มีรุ่นที่มีเส้นผ่านศูนย์กลาง "3" | - สำหรับผู้ที่ต้องการติดตั้งปั๊มนำเข้าคุณภาพสูงในปริมาณที่เพียงพอ |
“ กรุนด์ฟอสส์” | แบรนด์เยอรมัน - เดนมาร์ก มีฟังก์ชั่นเพิ่มเติมเช่นการป้องกันขณะวิ่งแห้งและการสตาร์ทแบบนุ่มนวล | - ผู้ที่พร้อมจ่ายเงินจำนวนมากเพื่อคุณภาพ- สำหรับผู้ที่ต้องการยูนิตที่มีเส้นผ่านศูนย์กลาง "4" |
Sprut | การผลิตของยูเครน - จีน ผลิตภัณฑ์ประกอบด้วยปั๊มที่มีเส้นผ่านศูนย์กลาง "3" ราคาถูก. | - สำหรับผู้ที่ต้องการจัดกระท่อมฤดูร้อนขนาดเล็กที่ไม่จำเป็นต้องใช้ปั๊มขนาดใหญ่ |
"ETsV" | การผลิตของยูเครน เมื่อเปรียบเทียบกับผู้ผลิตในยุโรปมีต้นทุนต่ำและยังคงให้ผลผลิตสูง อย่างไรก็ตามในเวลาเดียวกันรุ่นดังกล่าวใช้พลังงานไฟฟ้าในปริมาณที่ไม่ยุติธรรม | - สำหรับผู้ที่ต้องการจัดให้มีวิสาหกิจในชนบท |
แผ่นนี้จะแนะนำคุณว่าจะเลือกปั๊มแบบไหนดีหรือดี
ข้อสรุป
- ปั๊มจุ่มเป็นอุปกรณ์ที่จำเป็นสำหรับกระท่อมฤดูร้อนซึ่งเป็นแหล่งของเหลวหลัก ดี;
- หน่วยนำน้ำจากความลึกมากกว่า 10 เมตร
- ยิ่งคุณต้องการน้ำมากเท่าไหร่คุณก็ต้องมีพลังงานมากขึ้นเท่านั้น
วิดีโอ: วิธีเลือกปั๊มและอะไรคืออะไร

































