İlginç DIY testere ev yapımı ürünler
Acımasız Mel Gibson'ın oynadığı ünlü filmi hatırlıyor musunuz? Kıyamet sonrası bir dünyada insanlar su için savaşıyor, inanılmaz teknolojiyle savaşıyor ve hayatta kalmak için ev yapımı mekanikler kullanıyor. Tamamen otonom olan tek ekipman oldukları için bunların çoğunun benzinli motorlarla çalıştığını iddia edebilirsiniz. Ve gerçek dünyada, bu araç hemen hemen her yaz sakininin cephaneliğinde. Elektrikli testereniz varsa, hiçbir durumda kaybolmayacaksınız. Bu makalede, homebase.techinfus.com/tr/ online dergisinin editörleri sizin için ev yapımı motorlu testere ürünlerine genel bir bakış hazırladı. Kendi ellerinizle, basit cihazlar yardımıyla "Dostluk" veya "Ural" temelinde ekonomi için birçok faydalı cihaz yapabilirsiniz.

"Yaşlı kadın" motorlu testereden kurtulmak için acele etmeyin, o yine de sizin için yararlı olacaktır!
Makalenin içeriği
- 1 Hayatta kalma fikirleri: normal bir motorlu testereden kendi ellerinizle neler yapabilirsiniz
- 1.1 Güçlü motorlu testere kar küreme makinesi
- 1.2 Motorlu testereden kendin yap evrensel kar arabası
- 1.3 Ev tipi motorlu testereden ev yapımı kereste fabrikası
- 1.4 DIY motorlu testere buz vidası: şema ve uygulama
- 1.5 DIY testere motorlu matkap
- 1.6 DIY testere tekne motoru
- 1.7 Bisiklet ve motorlu testereden moped nasıl yapılır
- 1.8 Otomobil temasına devam: Elektrikli testere ile kendin yap karting
- 1.9 DIY testere jeneratörü
- 1.10 Testere vinci
- 1.11 Elektrikli testereden DIY gaz kesici veya Bir öğütücü nasıl yapılır: video
- 1.12 Yetişkin oyuncak: radyo kontrollü testere arabası
- 2 Ural motorlu testereden ev yapımı
- 3 Hayatta kalma araçları
Hayatta kalma fikirleri: normal bir motorlu testereden kendi ellerinizle neler yapabilirsiniz
Bu araç, güç kaynağına bağlı olmadığı için kullanışlıdır. Onunla evden uzakta çalışabilirsin. Birdenbire bir pompaya, jeneratöre, kar temizleme cihazına veya buz baltasına ihtiyacınız olursa - motorlu testere, ev yapımı herhangi bir arabanın kalbi olacaktır. Bu şekilde sadece paradan tasarruf etmekle kalmayacak, aynı zamanda gerçekten güçlü ve güvenilir ekipmanlara sahip olacaksınız. 4-8 hp benzinli motora dayanmaktadır. itibaren. bir ev bıçkı fabrikası, bir kızak, bir ışık jeneratörü ve hatta bir kültivatör inşa edebilirsiniz. En popüler ev yapımı motorlu testere ürünlerini ve bunların üretim teknolojilerini düşünün.
Güçlü motorlu testere kar küreme makinesi
Banliyö bölgesi sahipleri nadiren yoğun kar yağışının tadını çıkarırlar.Böyle bir zamanda, bir ana endişeleri var - araba yollarını ve eve geçişi temizlemek, arabanın park yerindeki karı temizlemek ve otoyola çıkışa doğru yol almak. Herkesin kürekle çalışacak enerjisi ve zamanı yoktur. Bu nedenle, kar temizleme araçları sezonda oldukça popülerdir.
Ancak böyle bir enstrüman en az 30.000-35.000 rubleye mal oluyor ve herkes bunu karşılayamaz. Peki ya bu cihazın teknik özellikleri? 5-8 litre kapasiteli hepsi aynı benzinli motor. itibaren. Ve bu böyle olduğu için, motorlu testerenin gücünün teorik olarak ev yapımı bir kar küreme makinesi için yeterli olduğu anlamına gelir. Kar temizleme cihazı basittir, şemaya dikkat edin:
Ve şimdi cihazı yapmak için küçük bir ana sınıf:
Ana parçayı monte ettikten sonra, sadece kayakları ve yakıt deposunu yapıya monte etmek kalır. Tüm yapı bir bütün olarak 35 kg'dan daha ağır olmayacak, bu nedenle kırılgan bir kadın bile bunu yönetebilir.
Sonuç olarak, tüm cihaz şöyle görünecek, bu forma bakın:
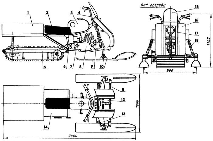
Motorlu testereden kendin yap evrensel kar arabası
Kış balıkçılığı veya avcılık birçok kişinin en sevdiği eğlencedir. Kar arabası olmadan sevilen göle gidemezsiniz ve ormandan karda bel boyu oyun kovalamak için koşmanın hiçbir keyfi yoktur. Böyle bir "oyuncak" çok pahalı - 80.000 ruble. Ve yine, motorlu testere size yardımcı olacaktır. Hazırlamanız gerekenler: Kayaklar veya paletlerle uygun bir kızak. Kızağın kendisi bir çelikten veya daha iyisi bir alüminyum köşeden kaynaklanabilir. Yapı ne kadar hafif olursa o kadar hızlı çalışır. Temel olarak, bu şemaya göre bir çocuk kar scooter cihazını üç kayakta alabilirsiniz:
Kendinden tahrikli makinenin motorlu testereden hareketi için dürtü, kızağı ileriye doğru iten kancalı tırtıllar tarafından iletilir. Rayları 7-8 bıçaklı bir kürekle değiştirebilirsiniz, koltuğun altına monte edilir. Motor montajı prensibi, bir kar motosikletindeki ile aynıdır - bir motosikletten veya mopedden tahrik ve dişliler ile.
Motorlu testereden bir kar motosikleti için bir motor olarak, "Dostluk" veya daha modern modeller, örneğin "Sakin" kullanabilirsiniz. Direksiyon simidi eski bisiklete sığacak, üzerinde motor kontrolü gösterilecek veya mümkünse yapıyı hemen mopedden uyarlayacak - tüm kontroller hazır.
Kar motosikletlerindeki frenler korkaklar tarafından icat edildi. Fakat aslında, motorlu testere motoruyla tehlikeli bir hız geliştirmeyecektir, bu yüzden gazı atın. Emin olmayın, böyle bir ürün herhangi bir araç muayenesi tarafından kaydedilmeyecektir. Bu yüzden yollarda ilerlemek imkansız. Ama o zaman vergi ödemenize ve teknik incelemeye girmenize gerek yok. Karanlıkta araba sürmek için, yapıya bir el feneri koymayı unutmayın.
Videodaki motorlu testereden kar arabası nasıl yapılır:
Ev tipi motorlu testereden ev yapımı kereste fabrikası
Özel hanelerde inşaat asla durmaz. Evi yeniden inşa et - bir çardak tasarladı, çardağı bitirdi - bir garaja, çite, ahıra, bir köpek kulübesine ihtiyacınız var. Ve böylece sonsuza kadar. Ekstra fon yoksa, yuvarlak kereste satın almak ve bunu kendiniz gereken boyutta tahtalara dönüştürmek en ucuz yöntemdir. Aynı motorlu testereden bir ev kereste fabrikası inşa edilebilir.
İlkel bir testere cihazı da doğrudan kesim alanında yapılabilir. İş için, ünitenin tasarımını değiştirmenize gerek yoktur, sadece motorlu testere için lastiğin hareketini yönlendiren küçük bir cihaz yapmanız gerekir. Nasıl yapılacağını görün:
DIY motorlu testere buz vidası: şema ve uygulama
Bir göletten zorlanmadan balık çekemeyeceğinizi söylüyorlar, ancak kışın bu işi bir jig seğirerek sınırlamak istiyorum. Hevesli balıkçı asla bir delikle sınırlı değildir.
Ancak buz 0,5 m kalınlığındaysa, zamanınızın çoğunu delmek, güç ve ruh halinizi kaybederek geçireceksiniz. Bir buz vidası, bu görevin hızlı ve zahmetsizce üstesinden gelmenize yardımcı olacaktır. Bakalım böyle bir gadget'ın ne kadara mal olduğunu görelim: 8.000 ruble'den. Elinizde bir motorlu testere varken neden satın alasınız? Bir buz vidası yapmak için eski bir elektrikli matkaba ihtiyacınız var - ondan bir sürüş yapacağız. Elektrikli testereden kendi ellerinizle bir buz vidası nasıl yapılır:
Önemli tavsiye! Başarılı iş ve takım güvenliğinin anahtarı, matkabın hareketi için bir kılavuzun varlığıdır. Birçoğu tasarımın bu kısmını ihmal ediyor ve sonuç olarak matkap, kullanımın ilk dakikalarında kırılıyor.
Videoda ev yapımı bir tasarımın nasıl çalışacağı gösterilmektedir:
DIY testere motorlu matkap
Motorlu matkap, buz deliciyle aynı prensibe göre tasarlanmıştır. Fark sadece nozülde olabilir. Hafriyat işlerinde, spiralin dönme hızı çok yüksek olmamalıdır, bu nedenle, ev yapımı bir tasarımda, hız kontrolü ve basit bir kapatma sağlamak gerekir.
DIY testere tekne motoru
Şişirilebilir bir tekne ile motorun maliyetini karşılaştırırsak, teknenin en az iki kat daha ucuz olduğu ortaya çıkıyor. 4 atlı en iddiasız benzinli tekne motoru 40.000 rubleye mal olacak. Kesinlikle pahalı. Ancak 4,35 litre kapasiteli PATRIOT PT 6220 motorlu testere. itibaren. - sadece 8900 ruble. Güç aynı, ancak motorun maliyeti beş kat daha ucuz! Peki, söyle bana, pahalı bir tekne motoru satın almanın amacı nedir?

Evet böyle bir motorda balık tutma gözetiminden uzaklaşamazsınız ama eğer dürüst balık tutmayı seviyorsanız o yere varmanız yeterli olacaktır.
Motorlu testere üreticileri uzun zamandır tüm bu noktaları açıklığa kavuşturdular ve bunlar için bir matkaptan pervane tahrikine kadar her türlü ataşmanı resmen serbest bıraktı. Bir tekne ekinin fiyatı 5.000-6.000 ruble. Aynı zamanda, testerenin yapısında önemli değişiklikler yapmaya gerek yoktur, bu da balık tuttuktan sonra nozulu kolayca değiştirebileceğiniz ve ateş için yakacak odun kesebileceğiniz anlamına gelir.Şimdi ev yapımı bir tekne sürücüsünün nasıl çalıştığı hakkında:
Ve şimdi bu cihazın pratikte nasıl çalıştığına dair materyal:
Bisiklet ve motorlu testereden moped nasıl yapılır
Druzhba motorlu testereden bu ev yapımı ürün, kendi kendinize yapabileceğiniz seçenekler arasında en popüler olanıdır. Moped üzerindeki kişi her zaman köydeki ilk kişidir, pek çok zanaatkar böyle bir cihazla başlar.

Elektrikli testereden kendi ellerinizle bir bisikleti moped haline getirmek için ustalığa ve minimum mühendislik bilgisine ihtiyacınız var.
Önemli! Motorlu testere motorlu bir bisikletin yapımı özellikle dayanıklı olmalıdır. Değilse, çerçeveyi ek desteklerle güçlendirin.
Arka tekerleğe tahrikli bir kasnak takılmıştır, motor çerçeveye güvenli bir şekilde kaynaklanmıştır. Bu olay örgüsünün bir sonucu olarak nasıl görünecek:
Druzhba motorlu testere oldukça güçlüdür, bu yüzden son derece dikkatli olun ve trafik kurallarını unutmayın!
Otomobil temasına devam: Elektrikli testere ile kendin yap karting
Genç karting koçları, eğitim sürecinde birden fazla motorun yanacağını biliyor. Sorun, arabayı kullanan çocuğun hızla kaybolmasıdır. Bu nedenle, elektrikli testere ile arkadan çekmeli traktör ile eğitim kartingi, derslere başlamak için oldukça yeterlidir.
Karting cihazı ilkeldir: çerçeve, koltuk, direksiyon simidi ve aslında motor. Motorun kurulum prensibi bir moped ile aynıdır, tek fark bulunduğu konumdadır. Şöyle görünüyor:
Böyle bir go-kartta, çocuklar bunun için uyarlanmış bir pistte risk almadan gidebilirler ve hız oldukça iyi olacaktır - 80 km / saate kadar.

Ruh halindeyseniz, böyle bir haritadan Mad Max arabası yapabilirsiniz, komşularınız arasında sıçrama yapacaktır.
DIY testere jeneratörü
Her koşulda hayatta kalmak için araçlar arasında, jeneratör sondan uzaktır. Dacha'da elektrik aniden kapanırsa ne yapmalı ve siz, sadece ışıksız kalmayacak, aynı zamanda ısıtma da pompa olmadan çalışmayı durduracaktır. Kendi güvenlik ağınız için, en basit jeneratörü bir motorlu testereden önceden hazırlamak daha iyidir.

İhtiyacınız olan tek şey arabanızdan eski bir jeneratör, bir motorlu testere ve yıldızlarla dolu bir bisiklet zinciri
Torku iletmek için bir bisiklet dişli kullanın. Bu durumda testere minimum hızda çalışmalıdır.
Bu nasıl çalışır:
Testere vinci
Çiftlikte genellikle bir vince ihtiyaç duyulur: bir şantiyede inşaat malzemelerini kaldırmak, araçları geçilmez kaynak çamurundan çekmek ve diğer pek çok öngörülemeyen durumda kullanışlı olacaktır. Yine motorlu testere bu cihazı mekanik hale getirmeye yardımcı olacaktır.
Satışta hazır nozullar var - vinçler. Bu şekilde çalışırlar:
Ancak kendi ellerinizle basit bir cihaz yapabilirsiniz. Motorun takılacağı sağlam bir metal çerçeve yapmanız ve dişli milini monte etmeniz gerekecektir.
Elektrikli testereden DIY gaz kesici veya Bir öğütücü nasıl yapılır: video
Gaz kesici, elektrikli sürücüden bağımsız olarak aynı öğütücüdür. Katılıyorum, alet evde gerekli.Bunu yapmak için bir öğütücüden bir düğüm, yeterince güçlü bir motorlu testere, bir kayış ve bir çift lastik gerekir. Motorlu testereden öğütücü nasıl yapılır:
Ortaya çıkan aracın avantajı, tamamen özerk olması ve iyi bir güce sahip olmasıdır. Belki de, herhangi bir fabrika elektrikli öğütücünün özelliklerini aşıyor. Yalnızca cihazın tehlikeli olduğunu ve çok dikkatli bir yaklaşım gerektirdiğini dikkate almak gerekir. En yaygın sorun patlama diskidir ve parçaları ciddi yaralanmalara neden olabilir. Bu nedenle koruyucu kapak olmadan böyle bir aletle çalışmak kesinlikle yasaktır.
Yetişkin oyuncak: radyo kontrollü testere arabası
Ve bu oyuncak kesinlikle çocuklar için değil. Elektrikli testereden radyo kontrollü bir makine için hangi pratik uygulamanın bulunabileceğini söylemek zor, ancak yaratıcıları onu pek aramıyordu. Meraklı modelciler için eksiksiz bir cihaz raporu:
Ural motorlu testereden ev yapımı
Neden çoğu zaman Ural testereden ev yapımı ürünler hakkında bilgi bulabilirsiniz? Çok basit: Güvenilir bir Sovyet kalitesine sahip güçlü, ancak ağır ve gürültülü bir testere birçokları için işsiz kaldı. Avrupa ve Çin üretiminin hafif ve rahat modelleri ile değiştirildi.

Bu nedenle, iki zamanlı veya dört zamanlı "Ural" ın birçok icat için popüler bir temel haline geldiği ortaya çıktı.
Bu motorlu testereden "Dostluk" ve Kendin Yap
Druzhba, Uralların atasıdır ve aynı nedenle popüler bir ev yapımı üs haline gelmiştir. "Druzhba", 3 litrelik güçlü bir iki zamanlı motora sahiptir. itibaren. Cihazın bir zincir freni bile var.
"Ural" ve "Druzhba", SSCB zamanlarının çoğu mühendislik çözümü gibi artan güç ve dayanıklılıkla ayırt edilir. Ek olarak, düşük oktanlı benzinle beslenirler ve bu önemli bir tasarruftur. Bu tekniğin tek dezavantajı ağırlıktır.
İlgili makale:
Motorlu testere: hangi markanın seçileceği. Ahşapla çalışmadan yazlık bir kulübede hayatı hayal etmek zor. Bu durumda, motorlu testere önemli bir araçtır. Peki hedeflerinize ve bütçenize göre hangi model size uygun?
Hayatta kalma araçları
Size ev yapımı motorlu testere için birçok seçenek sunduk ve inan bana, bu tüm liste değil. Benzinli bir motora sahip olmak, giderek daha kullanışlı ve eğlenceli cihazlar icat edebilirsiniz.
Bu tür cihazları yapma konusunda tecrübeniz varsa, fikirlerinizi yorumlarda okuyucularla paylaşın!





















































